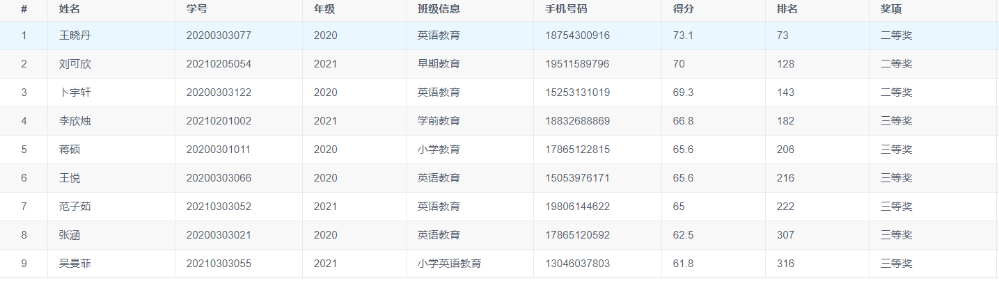
近日,初等教育学院英语教研室组织学生参加的第二届“外教社• 词达人杯”全国大学生英语词汇能力大赛山东分赛区省赛和2022“讯飞杯”全国高校英语口语大赛两项比赛均取得优异成绩。在“外教社• 词达人杯”全国大学生英语词汇能力大赛比赛中,我校学生获得省级二等奖3名,三等奖6名的好成绩;在“讯飞杯”全国高校英语口语大赛中,我校学生和山东省一万多名大学生同台竞技,有4人进入前100名,取得1人特等奖,2人一等奖,1人优秀奖的优异成绩,前三名同学将代表山东省参加全国大赛。成绩的取得离不开领导们的鼎力支持,老师们的辛苦付出,学生们的刻苦努力。在今后的工作中,我们会再接再厉,在学校学院领导下再创辉煌。

